欢迎访问100万基金网官网!

请登录 | 免费注册
收藏网站 | 网站首页 |
微信平台
|

24小时咨询热线:400-0870-989

先避雷 后投资100万基金网

当前位置:网站首页 > 新闻论坛

产品投资

Private Offering Fund
“22希望01”、“22希望02”拟付息 发行总额共计7.1亿
  12月1日,新希望五新实业集团有限公司披露2022年面向专业投资者公开发行公司债券(第一期)(品种一、二)2023年付息公告。  公告显示,品种一票据简称“22希望01”,发行总额为6亿元,利率5.5%,本年度计息期限为2022年12月13日至2023年12月12日,拟于2023年12月13日付息。  品种二票据简称“22希望02”,发行总额为1.1亿元,利率4.8%,本年度计息期限为2022
浏览:
36
2023-12-01
险企纷纷发债“补血” 年内发债规模或将突破千亿元
      近日,中国人寿发布公告称,公司拟视市场情况在境内一次或分期发行总额不超过350亿元(人民币,下同)资本补充债券,募集资金将用于补充公司附属一级资本,支持业务持续稳健发展。  同花顺数据显示,今年以来,已有15家保险公司发债,合计规模超700亿元。若此次中国人寿发行资本补充债进展顺利,年内险企已发及获批发债合计将突破千亿元,超过去年实际发债224.50亿元的
浏览:
32
2023-11-30
北交所市场迎活水 公募提示关注“专精特新”细分机会
  近日,北交所市场交易活跃,相关行情引发投资者关注。公募人士表示,北交所部分标的具有估值优势,板块关注度提升有望进一步推高流动性和估值,相对看好代表中国产业发展方向的“专精特新”细分市场制造业龙头。  北交所市场交易持续活跃  近日,北交所市场交易持续活跃。Wind数据显示,11月21日至11月23日,北证50指数的单日成交金额分别为102.43亿元、131.01亿元、155.75亿元,连续三日
浏览:
38
2023-11-30
500亿!两大保险巨头,中国人寿、新华保险拟合资成立私募证券投资基金!
  11月29日晚间,新华保险发布公告称,公司与中国人寿拟以货币资金方式共同设立私募证券投资基金(即汇智项目),由国寿资产(中国人寿控股子公司)和新华资产(新华保险控股子公司)成立有限责任公司担任基金管理人,投资上市公司股票。    根据基金募集规模来看,计划为500亿元,中国人寿、新华保险各出资250亿元。基金期限为10+N年,在10年期届满后,可以通过变更备案的方式进行延期,或者经双方协商一致
浏览:
23
2023-11-30
今年单月新低!10月新增私募资管规模环比腰斩,存量缩水两成
  继“去通道”完成后,私募资管再次降规模。  近日,据中国证券投资基金业协会(简称中基协)最新披露,私募资管10月新增产品备案设立规模339.45亿元,环比下降48.5%,接近腰斩,创下今年单月备案规模新低;存量规模同比从16.07万亿降至12.75万亿。降幅最大的并非偏股型,而是固定收益类产品。  这主要受10月份上证指数下探3000点触底影响,资管产品发行偏弱,随着一系列利好政策出台和市场触
浏览:
42
2023-11-29
保利集团旗下百亿私募年内再度遭罚,西藏证监局处罚辖区三家私募,博信基金一度官司缠身
11月27日晚间,西藏证监局一连披露3份私募罚单,涉及3家私募股权、创投基金,均被采取责令改正的行政监管措施,并记入资本市场诚信档案。这其中,博信基金存在的违规行为多至六类;拉萨开发区凰朝投资、西藏禹泽投资则各存在一类违规行为。博信基金已于2015年挂牌新三板,次年便通过定增募资1.53亿元,东方证券、华安证券、申万宏源、光大资本均出资认购了股份。而三年之后,申万宏源作为原告,与被告博信基金对薄公
浏览:
29
2023-11-29
房企白名单,哪些主体可能受益?
哪些房企可能得到支持?据财新网报道,金融监管部门在上周五(11月17日)召开的金融机构座谈会上,讨论了多项房地产金融放松政策。上述会议提出了“三个不低于”,即各家银行自身房地产贷款增速不低于银行行业平均房地产贷款增速,对非国有房企对公贷款增速不低于本行房地产增速,对非国有房企个人按揭增速不低于本行按揭增速。经济观察网报道,一份根据资产规模排序、仍处于正常经营中的房地产企业名单正在被拟定,监管机构强
浏览:
40
2023-11-27
普法讲堂|冒烟指数解析“伪金交所”非法集资模式
近年来,不少投资者通过某些名为“登记结算服务公司”或“资产备案服务中心”登记备案的投资产品来获得高额回报。这些投资产品的年化收益最高可达10%以上,看似非常吸引人。然而,在这些投资产品背后,存在一类违法的机构——“伪金交所”,它们打着“金交所”的旗号,以登记备案为名,搭建了一条为地产、三方财富等行业违规发行“理财产品”的地下新融资通道,已经触及监管红线。近期湖南省地方金融监管局发布风险预警,提醒投
浏览:
29
2023-11-27
上交所:终止审核潍坊滨城投资等9家主体发债项目,金额合计160亿元
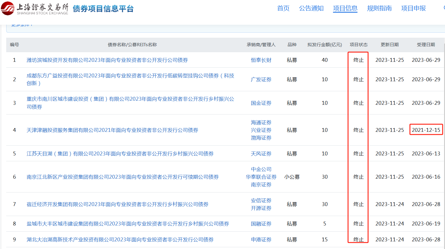
  上交所于11月24日和25日披露,终止审核9家主体发债项目,金额合计160亿元,品种为8笔私募和1笔小公募,其中审核期限最长一笔受理时间为2021年。    具体为:“潍坊滨城投资开发有限公司2023年面向专业投资者非公开发行公司债券”、“成都东方广益投资有限公司2023年面向专业投资者非公开发行低碳转型挂钩公司债券(科技创新)”、“重庆市南川区城市建设投资(集团)有限公司2023年面向专业投
浏览:
34
2023-11-27
中林集团: 因重大事项存在不确定性,公司10只债券于11月21日起停牌
根据中国林业集团有限公司(以下简称“中林集团”)于2023年11月21日的披露的两个临时公告信息,因为“重大事项存在不确定性”,申请将8只债务融资工具和2只公司债券进行停牌,停牌开始时间为2023年11月21日,具体复牌时间另行确定。本次公告信息中并未披露重大事项的具体内容。此前的2023年9月28日,中林集团发布公告信息,明确公司即日起由中国长江三峡集团有限公司实施托管。在这次公告信息中也没有披
浏览:
181
2023-11-21
科普丨小公募是什么意思? 大公募和小公募的区别是什么?
小公募是什么意思?小公募是指面向合格投资者的公开发行的一种公司债券,虽然仅向合格投资者发行,但仍属于公开发行的范畴。在发行方式上,小公募与现在协会中票、企业债相同,结合交易所债券质押库的优势,将是交易所的主流交易债券品种。小公募的发行对象为合格投资者,认购或投资的人数没有限制;私募公司债的发行对象为合格投资者,每次发行对象不得超过200人。大公募和小公募的区别是什么?(一)发行对象不同:大公募的发
浏览:
98
2023-11-21
公募和私募的区别是什么?
  在金融领域,公募和私募是两个非常重要的概念,它们分别代表着不同的投资方式和投资对象。公募和私募的主要区别在于它们的投资范围、投资对象、投资方式和投资门槛等方面。  首先,公募和私募的投资范围不同。公募基金是指由基金管理公司发起设立,向社会公众募集资金,用于证券、债券、货币市场工具等各类投资领域的集合资金。而私募基金是指由基金管理人面向特定投资者发起设立,不对公众募集资金,主要面向机构投资者和高
浏览:
118
2023-11-20
热点视频
在线
预约
官方微信 产品小程序
0.161389s