基金资讯

在扶优限劣的监管导向下,私募行业出清速度不断加快。今年以来,已有近500家私募基金管理人注销,其中,仅2月9日一天就有约400家私募基金管理人注销。
业内人士表示,对伪劣私募应该坚决出清,以形成优胜劣汰的良性循环。此外,私募机构要不断加强投研能力建设,建立与完善合规风控制度。
2024年开年以来,A股市场经历了大落大起的大震荡,国内私募业也因此迎来洗牌潮。
基金业协会数据显示,截至2月22日,年内注销的私募机构数量已高达485家,其中被协会注销的424家,主动注销的58家。
被协会注销的私募中,有402家经营异常,12家被协会采取纪律处分措施,6家因为注销工商登记或被吊销营业执照,还有4家的注销原因是其他。
代表私募业头部梯队状况的“百亿级私募阵营”也出现较大变动。据统计,国内百亿级私募数量已跌落至100家以内,最新数据为98家,而在今年1月初的数量为104家。
据悉,自2021年11月以来,百亿级私募数量始终维持在100家以上,且最高时接近120家。
从跌落“百亿级阵营”的私募名单看,其中不乏一些知名私募。值得关注的是,尽管量化私募近期遭遇净值大回撤及赎回压力,但跌落百亿阵营的私募中,七成为主观策略私募。
在业内人士看来,除了经营不善,私募业还正在面对日趋严厉的监管。
从基金业协会公布的情况看,今年已发出70余张私募业务相关的纪律处分决定书,对行业存在的“募集程序不规范,未履行投资者适当性义务”“委托不具有销售业务资格的机构推介私募基金”“未及时披露基金架构信息”“向投资者承诺保本保收益”“未按照规定及约定进行信息披露”“经营管理失控”等各种乱象重拳出击。
监管机构对于私募乱象“零容忍”。截至2月22日,中基协在2月份已经发布了42份纪律处分决定书,对12家私募机构和30位相关负责人做出了纪律处分。
违规行为方面,这批受罚机构涉及募集程序不规范、未及时披露基金架构信息、不配合自律检查、虚假填报高级管理人员登记信息等多方面问题。
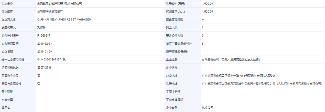
这些私募机构受到的处分措施有警告、取消会员资格、撤销其私募基金管理人登记等。比如,前海纽黑文资产管理(深圳)有限公司(下称“前海纽黑文”)存在四项违规事实:一是募集程序不规范;二是违反专业化运营原则;三是基金账户管理不规范;四是不配合协会自律检查。中基协对前海纽黑文采取取消会员资格、撤销管理人登记的纪律处分。

来源:朝阳永续基金研究平台pro
此外,上海磁*投资管理有限公司因虚假填报高级管理人员登记信息被中基协公开谴责;上海众*私募基金管理有限公司则因存在不配合自律检查的违规行为被中基协撤销管理人登记。

评论专区
Comment area推荐产品
product新闻资讯
information
Securities industry
Bank financial management
Trust financing
微信公众号
官方微信
产品小程序




