基金公司
Trust financing
1.公司介绍
1.1公司信息
千衍私募基金管理上海有限公司成立于2015年1月,同年3月份在中国证券投资基金业协会完成私募证券投资基金管理人备案(备案编号:P1009640),并获得观察会员资格,目前在上海设立办公室。
千衍专注量化投资领域,以中低频股票量化以及期货CTA策略为主。我们以基本面以及价量逻辑驱动为基础,结合数量建模的方式构建有效的投资体系,进行科学系统化投资,实现风险可控前提下的长期稳健回报。力争为各类不同风险偏好的投资者提供优质的投资理财和资产管理服务。
1.2投资理念
千衍专注量化投资领域,以中低频股票量化以及期货CTA策略为主。我们以基本面以及价量逻辑驱动为基础,结合数量建模的方式构建有效的投资体系,进行科学系统化投资,实现风险可控前提下的长期稳健回报。力争为各类不同风险偏好的投资者提供优质的投资理财和资产管理服务。
1.3投资策略
千衍投资的投资策略主要包括以下几类:
1.3.1指数增强策略
覆盖指数:涵盖中证500、中证1000、中证2000等指数增强,通过量化模型筛选股票,力求在跟踪指数的基础上获取超额收益。
选股与持仓:选股池剔除ST及基本面较差的股票,约覆盖5000只股票,平均持仓数量约1200只,单票最大占比控制在0.5%以内,分散投资风险。
换手率:年化双边换手率约30倍,结合程序化T+0交易后,整体换手率可达80-100倍,通过中低频交易捕捉市场机会。
1.3.2市场中性策略
对冲方式:通过股指期货对冲市场风险,分为中证500中性和中证1000中性两类,不进行市场择时,旨在获取无市场风险敞口的超额收益。
持仓特征:与指数增强策略类似,持仓分散,单票占比低,通过量化模型构建多头组合,对冲后收益主要来源于超额收益与对冲成本的差值。
1.3.3量化CTA策略
策略类型:以趋势跟踪为主(占比约90%),涵盖短、中、长周期趋势,辅以10%的截面多空与产业链配对策略,覆盖期货市场50多个品种,包括贵金属、有色、农产品、股指、国债等。
风险控制:单品种最大占比不超过10%,单板块不超过30%,标准杠杆产品年化波动率约10%,高杠杆产品约20%,平均持仓周期3-5天,通过波动率控制仓位,风险贡献超过阈值时会降低仓位。
1.3.4复合策略
组合配置:结合CTA与股票市场中性、指数增强等策略,如“CTA+80%市场中性”“CTA+60%市场中性+20%指数增强”等,通过低相关性策略组合平滑收益曲线,提升风险调整后收益。
资金效率:优化资金使用,替代传统CTA策略中的货基部分,实现现金增强,同时在极端行情中通过期货账户灵活管理保证金,避免强制平仓风险。
千衍投资的策略核心在于以基本面因子为主导的量化模型,结合多策略、多资产配置,注重风险控制与策略的稳定性,通过中低频交易适应不同市场环境。
2.团队成员
吴晶,华东师范大学硕士,2012 年起先后在光大证券、国泰君安证券研究所担任量化分析师,曾获新财富团队第一奖项。2015 年进入私募行业负责量化投资工作,而后任职富善投资私募合伙人兼香港持牌负责人。2020 年于华泰证券证券投资部担任自营量化投资工作。具有十年以上的量化研究投资经验,目前任职千衍基金法定代表人及总经理。
马双杰,FOF工作5年,平均管理规模20亿左右,曾就职于中邮集团旗下资产管理公司-北京中邮鸿信投资管理有限公司,担任FOF投资总监一职。此外还曾在两家私募机构任职。参与过宏观研究、策略开发等工作,对量化策略与宏观经济有着独到的见解。
郭其添,上海财经大学统计学硕士,2011年至2016年先后于交银施罗德公募基金、光大资管担任量化投资经理,后于国海证券资管部担任投资经理、量化负责人。 2018年加入某百亿私募,任合伙人及股票量化部门主管。 2020年于华泰证券证券投资部担任自营量化投资工作。 具有十年以上的量化研究投资经验,目前任职千衍基金研究总监。
3.产品收益展示

千衍旗下的私募产品(仅限图片展示内容)近一年年总收益均为正,其中最低收益为9.97%,最高收益为65.97%,涵盖多种不同策略的产品,由基金管理人进行管理,年化收益率最高为78.77%,最低为8.15%,想了解更多信息扫描文章下方二维码,了解更多信息。
3.1产品线
3.1.1产品①-------千衍六合31号


该产品为股票策略型R4中高风险的私募基金产品,其单位净值为1.5605,今年以来的收益为12.19%,成立以来的收益为116.16%,成立以来的回撤为11.93%,通过图片可以观察到该只私募基金产品成立以来的收益走势图。想投资,找不到方向,加微信Q8881961,带你了解更多私募基金产品。
3.1.2产品②-------千衍三涛3号


该只私募基金为股票策略、股票市场中性,成立3.7年以来收益为33.67%,今年以来收益为-3.49%,单位净值为1.2264,成立以来最年化为8.15%,成立以来最大回撤为7.15%,关于单位净值的变化,大家可以参考图片中的净值情况。想买私募产品,想投资,买哪种,如何买?如果您有这样的疑问,请加我微信Q8881961详细咨询关于私募基金产品的情况,我将根据您的风险偏好等综合情况评估,给您推荐最合适的私募产品,投资找我不迷路。
3.1.3产品③-------千衍三涛10号


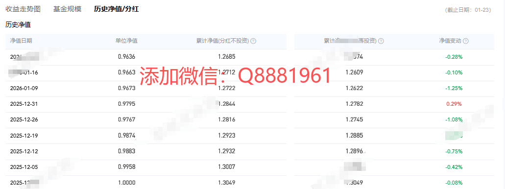
该只私募基金产品为R4中高风险,今年以来的收益为-1.62%,成立2.4年以来的收益为25.74%,其中我们来看一下具体数据,成立以来的夏普比为1.33,成立以来的回撤为7.39%,单位净值为0.9636,通过图片,可以观察到这支基金产品的基金规模,截止到2026/1/23的累计净值为1.2685。想追踪最新的基金信息,微信扫描文章下方二维码了解更多信息,加我微信不迷路。
3.2 2025年新发基金只数【实际控制人:吴晶】
| 2025年新发基金总数 | 56 |
| 1月 | 6 |
| 2月 | 7 |
| 3月 | 16 |
| 4月 | 7 |
| 5月 | 7 |
| 6月 | 5 |
| 7月 | 2 |
| 8月 | |
| 9月 | |
| 10月 | |
| 11月 | 2 |
| 12月 | 4 |

福利:扫码解锁专属投资指南
✅ 加入高净值人群投资交流群,共享优质资源
保存扫描微信二维码,添加专业顾问微信:
✅ 1对1定制个人资金配比方案
评论专区
Comment area推荐产品
product新闻资讯
information
Securities industry
Bank financial management
Trust financing
微信公众号
官方微信
产品小程序




